体育资讯11月17日讯 全运会羽毛球男双四分之一决赛全部结束,刘雨辰/冯彦哲、刘阳/刘毅、欧烜屹/何济霆、王昶/谢浩南四队选手挺进四强。
男双半决赛对阵情况如下:
刘雨辰/冯彦哲 VS 刘阳/刘毅
欧烜屹/何济霆 VS 王昶/谢浩南
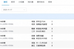
男双四分之一决赛比分详情:
刘雨辰/冯彦哲2-0郭若涵/马尚
欧烜屹/何济霆2-0陈柏阳/黄荻
刘阳/刘毅2-0刘阳/刘毅
王昶/谢浩南2-0林一凡/杨佳峄
上一篇: 全运会羽毛球女单1/4决赛:陈雨菲险胜张艺曼 晋级四强
下一篇: 全运会羽毛球女双半决赛:贾一凡/张驰vs黄东萍/谭宁
比赛中
12-01 07:00
NBA
老鹰
117
:
76人
观看比赛:
高清线路
更多
NCAA
加州贝克斯菲尔德
76
71
加州州立大学弗雷斯诺分校
特多甲
千里达警察FC
2
0
波尼特
猛龙
94
116
尼克斯
世女美预
巴巴多斯女足
特立尼达和多巴哥女足
国王对阵篮球直播
火箭vs马刺季前赛
能看nba直播的免费软件
篮球直播nba免费
弗拉门戈vs圣保罗直播
芬兰vs安道尔直播
卡维塞vs切里尼奥拉直播
奥斯特伦vs索尔韦斯堡直播